Ressorts double torsion dans 44 tailles de ressort pour une livraison rapide à partir du stock en acier inoxydable 1.4310 de FERROFLEX Gutekunst Ressorts. Les ressorts double torsion sont constitués de fil d'acier à ressort rond de forme cylindrique avec des pieds droits tangentiels et une caractéristique de ressort linéaire de qualité 2 (plage de tolérance moyenne) selon DIN EN 15800. Les doubles ressorts de jambe sont offerts dans les positions de jambe 0 et 90 degrés. Le ressort double torsion est un ressort à jambe allongée dans lequel l'utilisation de deux corps de ressort crée une connexion parallèle avec une plus grande raideur de ressort de couple total. Sélectionnez simplement le bon ressort double torsion dans la boutique de ressorts et commandez-le directement à FERROFLEX Gutekunst Ressorts via le panier. Des données CAO et des fiches techniques sont proposées pour chaque ressort double torsion.
 [Doppelschenkelfedern erzeugen ein Drehmoment über eine Winkel-/Drehbewegung an den Schenkeln.]
 Gamme de catalogue de ressorts double torsion
 Ressorts double torsion en 44 dimensions en acier inoxydable 1.4310 (antirouille, température max. 200 degrés) dans des épaisseurs de fil de 0,5 à 4 mm en stock.
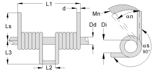
 Pour calculer la force de ressort la plus élevée (Fn), le couple le plus élevé (Mn) doit être divisé par la longueur du bras de levier (R) (Fn = Mn / R). Le bras de levier est la distance entre le point d'application de la force et le centre du corps du ressort.
 Les ressorts double torsion en acier inoxydable ne sont plus traités après le traitement thermique. Des traitements de surface supplémentaires des ressorts à double pied présentent l'inconvénient que l'application de la surface n'est possible qu'avec un effort important en raison de la précontrainte du corps du ressort. Ici, le choix d'un matériau de ressort approprié est préférable à un traitement de surface ultérieur. Dans ce cas, contactez service@ferroflex.fr .
 Position de la cuisse
 Nos ressorts double torsion sont proposés en 2 positions de pied, s = 0 degrés et s = 90 degrés.
     
Livraison et prix
    La commande de printemps est prête à être expédiée sous 2 à 5 jours (*). L'expédition a lieu en Allemagne avec DHL, en Europe avec DHL/DPD. En dehors de l'Europe, nous expédions uniquement avec le compte d'expédition du client.
    Les prix des articles sont affichés dans différentes échelles de quantité jusqu'à une quantité commandée de 550        pièces. Pour des quantités de commande plus importantes, vous pouvez voir le prix de l'article actuellement        valide dans la confirmation de commande. Informations sur les prix pour des quantités plus importantes par        téléphone (+33) 32 50 22 850 et service@ferroflex.fr.
    FERROFLEX ne facture pas de suppléments pour les petites quantités pour les petites commandes!
    (*) Il faut généralement 2 à 5 jours pour préparer l'envoi. Si l'article n'est pas en stock, la préparation de        l'expédition peut prendre jusqu'à 28 jours.
    FERROFLEX Gutekunst Ressorts